技術電話:17301986536加盟電話:13689528587

懸臂梁傳感器MK505
產品特點:MK505懸臂梁式稱重傳感器采用優質合金鋼,表面鍍鎳,安裝高度低,長期穩定性好,結構緊湊,防爆性能高。
產品用途:MK505懸臂梁式稱重傳感器適用于地上衡、建材配料等各種配料稱重控制。
量程:5kN(500kg)、10kN(1t)、20kN(2t)、30kN(3t)
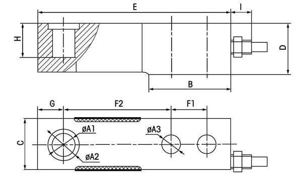
技術參數及外形尺寸:
序號 | 產品技術參數 | |
1 | 額定載荷 | 0.5-3t |
2 | 綜合精度 | 0.02%F.S |
3 | 靈敏度 | 2.0mV/V |
4 | 零點輸出 | ±1%F.S |
5 | 輸入阻抗 | 381±4Ω |
6 | 輸出阻抗 | 350±1Ω |
7 | 絕緣阻抗 | ≥5000MΩ |
8 | 補償溫度范圍 | -10~40℃ |
9 | 適用溫度范圍 | -20~65℃ |
10 | 安全過載 | 120%F.S |
11 | 材質 | 合金鋼 |
12 | 激勵電壓 | 10V(DC) |
13 | 密封等級 | IP67 |
14 | 電纜 | 3m |
15 | 接線方式 | 見產品合格證 |

型號 | 量程(kN) | 量程(t) | ΦA1 | ΦA2 | ΦA3 | B | C | D | E | F1 | F2 | G | H | I | J |
| MK505 | 5 | 0.5t | 16 | 22 | 12.5 | 57.8 | 30.2 | 35 | 133.4 | 25.4 | 76.2 | 15.4 | 22 | 17 | 55.3 |
10 | 1t | 16 | 22 | 12.5 | 58.2 | 36.6 | 36.6 | 137 | 25.4 | 76.2 | 18.4 | 23.7 | 17 | 54.6 | |
20 | 2t | 16 | 22 | 12.5 | 58.2 | 36.6 | 36.6 | 137 | 25.4 | 76.2 | 18.4 | 23 | 17 | 55.3 | |
30 | 3t | 16 | 22 | 14.7 | 58.2 | 36.6 | 36.6 | 137 | 25.4 | 76.2 | 18.4 | 23 | 17 | 55.3 |




密克傳感器(深圳)有限公司是傳感器源頭生產廠家,致力于測力傳感器的研發生產。產品達百余種,廣泛應用于各種工業自動化、機器人、化工、食品、冶金以及醫療等新型和智能化高端領域。按結構分有輪輻式傳感器,S型傳感器,波紋管傳感器,法蘭盤傳感器,柱式傳感器,扭矩傳感器,平行梁傳感器,拉力傳感器等等,按功能應用場景分有試驗機專用傳感器,攪拌站傳感器,稱重傳感器,包裝機傳感器,壓裝機傳感器,價格美麗,可定制。
密克斯生產的MK505懸臂梁式稱重傳感器適用于地上衡、建材配料等各種配料稱重控制。
